ГлавнаяКаталог и Интернет-магазинКонтактыТехцентрПолные инструкцииПодбор по параметрам

Список форумов AutoSet.ru : форумы по автосигнализациям AutoSet.ru : форумы по автосигнализациям
Форумы по автосигнализациям и автоэлектронике.
 
 База знаний и частые вопросыБаза знаний и частые вопросы   FAQFAQ   ПоискПоиск   ПользователиПользователи   ГруппыГруппы   РегистрацияРегистрация 
 ПрофильПрофиль   Войти и проверить личные сообщенияВойти и проверить личные сообщения   ВходВход 

MB w202 97г и TOMAHAWK 7010

 
Этот форум закрыт, вы не можете писать новые сообщения и редактировать старые.   Эта тема закрыта, вы не можете писать ответы и редактировать сообщения.    Список форумов AutoSet.ru : форумы по автосигнализациям -> Установка автосигнализаций - проблемы и неисправности
 
Автор Сообщение
Ech
Новобранец


Зарегистрирован: 19.09.2006
Сообщения: 1


Статус: Вне форума

Сообщение19.09.2006 20:11    MB w202 97г и TOMAHAWK 7010 [цитировать]

Уважаемые эксперты, подскажите!

Было принято решение по установке сигнализации TOMAHAWK 7010 на Мерседес w202 97г. Машина с завода идет с центральным вакуумным замком. Ключ выглядит следующим образом: http://www.autoset.ru/forum/files/dscn4573_858.jpg
Штатной сигнализации нет.

При установке в правой и левой передних дверях нашли блоки управления центральным замком. Но сигнал на управление вакуумным замком от них не нашли. Решили напрямую от сигнализации подавать импульсы на открытие/закрытие на сам двигатель вакуумного насоса, к которому подключились через диоды.

Вопрос: насколько верно такое подключение?
И второй: если оно верно, то при замере времени работы насоса от сигнала со штатного брелка машины получаем около 2 сек, при выставлении импульса от сигнализации 0,8 сек получаем неполное закрытие или открытие дверей - насос не успевает накачать. Выставляем 3,6 сек - все работает, но не навредит ли такое время работы вакуумной системе?

Надеюсь на вашу помощь, заранее благодарен.
Вернуться к началу [профиль] [л.с.]
Xpert
Эксперт


Зарегистрирован: 12.08.2005
Сообщения: 479
Откуда: Москва

Статус: Вне форума

Сообщение19.09.2006 21:35     [цитировать]

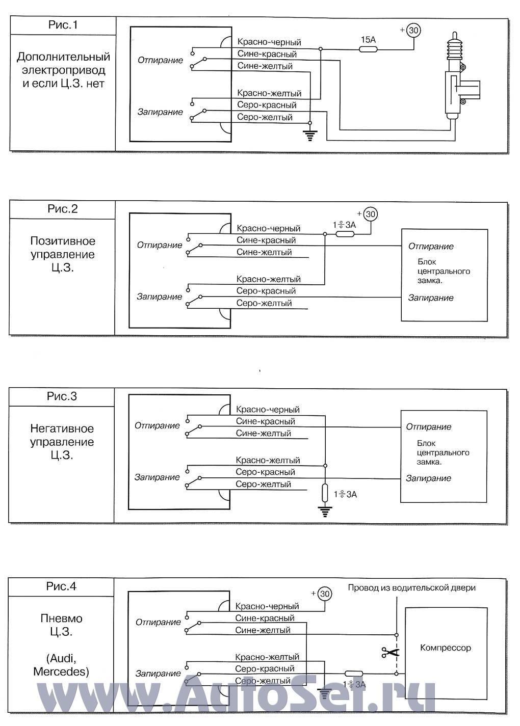
Ech
Фрагмент из какой-то инструкции, думаю поможет.



цз.jpeg
 Описание:

Скачать
 Имя файла:  цз.jpeg
 Размер файла:  150.44 KB
 Скачано:  1232 раз(а)

Вернуться к началу [профиль] [л.с.]
Показать сообщения:   
Этот форум закрыт, вы не можете писать новые сообщения и редактировать старые.   Эта тема закрыта, вы не можете писать ответы и редактировать сообщения.    Список форумов AutoSet.ru : форумы по автосигнализациям -> Установка автосигнализаций - проблемы и неисправности Часовой пояс: GMT + 4
Страница 1 из 1

 
Перейти:  
Вы не можете начинать темы
Вы не можете отвечать на сообщения
Вы не можете редактировать свои сообщения
Вы не можете удалять свои сообщения
Вы не можете голосовать в опросах
Вы не можете вкладывать файлы
Вы можете скачивать файлы


Powered by phpBB © 2001, 2005 phpBB Group
Русская поддержка phpBB
Modified by phpBB Guru